← Рама МАЗ-509А Прибор буксирный МАЗ-5335 →
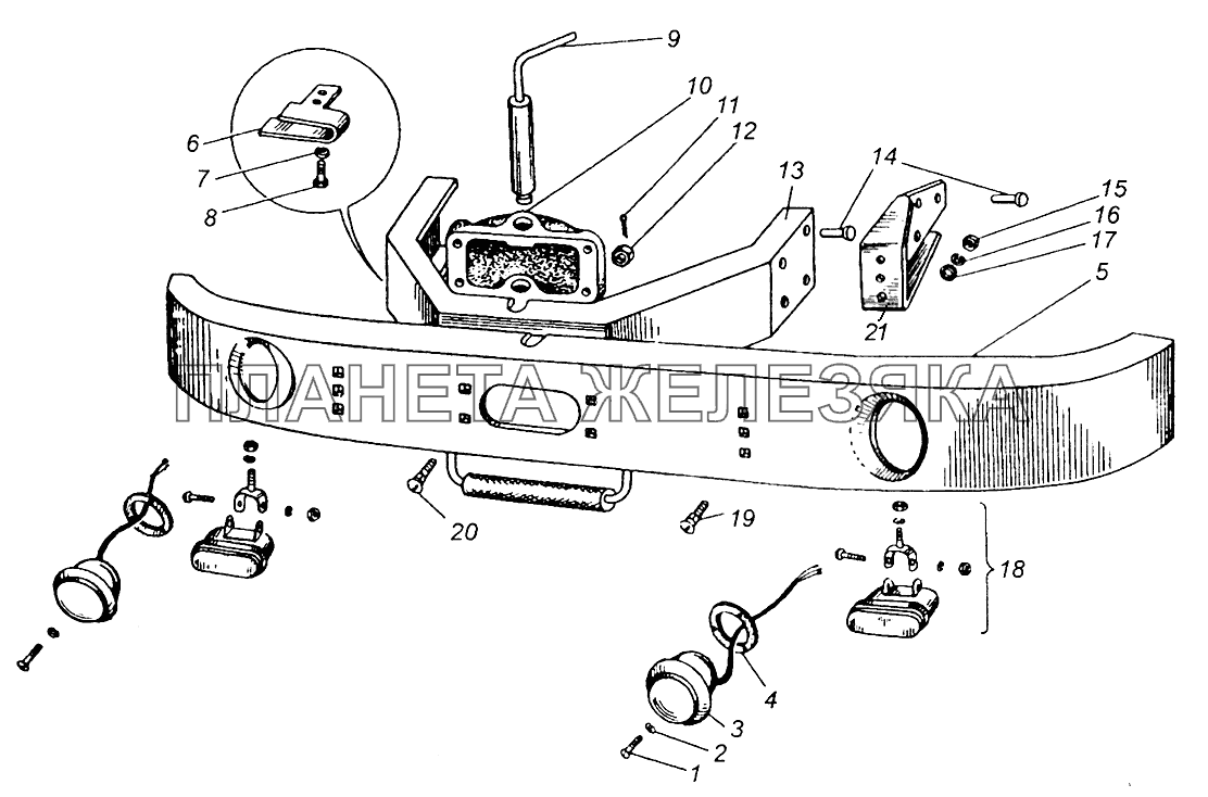
Бампер передний и крепление противотуманных фар МАЗ-504В
  Номер детали Наименование детали  
250515-П29 Гайка
Подробнее
Дополнительная информация:
Кол-во на "5335, 5549, 5429, 5430, 509А, 504В" 2
14361430
Покрытие цинкование и пассивирование (цинковое с хроматированием)
  Код Название Артикул Цена
Гайка ГАЗ-3302 КПП секретная к-т 040536 Гайка ГАЗ-3302 КПП секретная к-т 250515-П29 200,00 р.
252137-П2 Шайба пружинная
Подробнее
Дополнительная информация:
Кол-во на "5335, 5549, 5429, 5430, 509А, 504В" 2
14361444
Покрытие фосфатирование и промасливание
5335-3743132 Кронштейн противотуманной фары в сборе
Подробнее
Дополнительная информация:
Кол-во на "5335, 5549, 5429, 5430, 509А, 504В" 2
14361436
Модель 5335
Группа Электрооборудование
Подгруппа Фары противотуманные
Порядковый номер детали 132
А24-55+50 Лампа фары
Подробнее
Дополнительная информация:
Кол-во на "5335, 5549, 5429, 5430, 509А, 504В" 2
14361437
К-11-21-П29Л Винт
Подробнее
Дополнительная информация:
Кол-во на "5335, 5549, 5429, 5430, 509А, 504В" 6
14361427
Н-12-29-П29Л Винт крепления ободка
Подробнее
Дополнительная информация:
Кол-во на "5335, 5549, 5429, 5430, 509А, 504В" 2
14361428
ФГ105-3711201 Рассеиватель
Подробнее
Дополнительная информация:
Кол-во на "5335, 5549, 5429, 5430, 509А, 504В" 2
14361443
Модель ФГ105
Группа Электрооборудование
Подгруппа Фары
Порядковый номер детали 201
ФГ122-3711181 Винт регулировочный
Подробнее
Дополнительная информация:
Кол-во на "5335, 5549, 5429, 5430, 509А, 504В" 4
14361429
Модель ФГ122
Группа Электрооборудование
Подгруппа Фары
Порядковый номер детали 181
Гайка ГАЗ-3302 КПП секретная к-т ФГ122-3711321-Б Ободок
Подробнее
Дополнительная информация:
Кол-во на "5335, 5549, 5429, 5430, 509А, 504В" 2
14361439
Модель ФГ122
Группа Электрооборудование
Подгруппа Фары
Порядковый номер детали 321
Дополнительно Взаимозаменяема с деталью, выпущенной ранее под этим же номером
  Код Название Артикул Цена
Ободок фары ГАЗ,ЗИЛ,УАЗ наружный ОСВАР 066752 Ободок фары ГАЗ,ЗИЛ,УАЗ наружный ОСВАР ФГ122-3711321-Б 850,00 р.
ФГ122-3711327 Прокладка ободка фары
Подробнее
Дополнительная информация:
Кол-во на "5335, 5549, 5429, 5430, 509А, 504В" 2
14361441
Модель ФГ122
Группа Электрооборудование
Подгруппа Фары
Порядковый номер детали 327
Ободок фары ГАЗ,ЗИЛ,УАЗ наружный ОСВАР ФГ140-3711201 Оптический элемент
Подробнее
Дополнительная информация:
Кол-во на "5335, 5549, 5429, 5430, 509А, 504В" 2
14361440
Модель ФГ140
Группа Электрооборудование
Подгруппа Фары
Порядковый номер детали 201
  Код Название Артикул Цена
Стекло фары ВАЗ-2101,ЗИЛ,ГАЗ,УАЗ,ПАЗ СТАРГЛАСС 007572 Стекло фары ВАЗ-2101,ЗИЛ,ГАЗ,УАЗ,ПАЗ СТАРГЛАСС ФГ140-3711201 55,00 р.
ФГ2-3711230 Кожух
Подробнее
Дополнительная информация:
Кол-во на "5335, 5549, 5429, 5430, 509А, 504В" 2
14361432
Модель ФГ2
Группа Электрооборудование
Подгруппа Фары
Порядковый номер детали 230
ФГ7-3711258 Держатель оптики
Подробнее
Дополнительная информация:
Кол-во на "5335, 5549, 5429, 5430, 509А, 504В" 10
14361431
Модель ФГ7
Группа Электрооборудование
Подгруппа Фары
Порядковый номер детали 258
ФП22-3711021 Ободок внутренний в сборе
Подробнее
Дополнительная информация:
Кол-во на "5335, 5549, 5429, 5430, 509А, 504В" 2
14361438
Модель ФП22
Группа Электрооборудование
Подгруппа Фары
Порядковый номер детали 021
ФП22-3711120-Б Корпус фары
Подробнее
Дополнительная информация:
Кол-во на "5335, 5549, 5429, 5430, 509А, 504В" 2
14361435
Модель ФП22
Группа Электрооборудование
Подгруппа Фары
Порядковый номер детали 120
Дополнительно Взаимозаменяема с деталью, выпущенной ранее под этим же номером
ФП22-3711123 Кольцо установочное
Подробнее
Дополнительная информация:
Кол-во на "5335, 5549, 5429, 5430, 509А, 504В" 2
14361434
Модель ФП22
Группа Электрооборудование
Подгруппа Фары
Порядковый номер детали 123
ФП22-3711185 Пружина
Подробнее
Дополнительная информация:
Кол-во на "5335, 5549, 5429, 5430, 509А, 504В" 6
14361442
Модель ФП22
Группа Электрооборудование
Подгруппа Фары
Порядковый номер детали 185
ФП22-3711240-Б Колодка с проводами фары
Подробнее
Дополнительная информация:
Кол-во на "5335, 5549, 5429, 5430, 509А, 504В" 2
14361433
Модель ФП22
Группа Электрооборудование
Подгруппа Фары
Порядковый номер детали 240
Дополнительно Взаимозаменяема с деталью, выпущенной ранее под этим же номером
Стекло фары ВАЗ-2101,ЗИЛ,ГАЗ,УАЗ,ПАЗ СТАРГЛАСС 1 220079-П29 Винт
Подробнее
Дополнительная информация:
Кол-во на "5335, 5549, 5429, 5430, 509А, 504В" 8
14361406
Покрытие цинкование и пассивирование (цинковое с хроматированием)
  Код Название Артикул Цена
Винт М5х14 крышки карбюратора 063178 Винт М5х14 крышки карбюратора 220079-П29 2,00 р.
2 252133-П2 Шайба
Подробнее
Дополнительная информация:
Кол-во на "5335, 5549, 5429, 5430, 509А, 504В" 8
14361407
Покрытие фосфатирование и промасливание
3 ФГ122-3711010-ВВ Фара
Подробнее
Дополнительная информация:
Кол-во на "5335, 5549, 5429, 5430, 509А, 504В" 2
14361408
Модель ФГ122
Группа Электрооборудование
Подгруппа Фары
Порядковый номер детали 010
Дополнительно Взаимозаменяема с деталью, выпущенной ранее под этим же номером
4 500-3711024 Прокладка корпуса фары
Подробнее
Дополнительная информация:
Кол-во на "5335, 5549, 5429, 5430, 509А, 504В" 2
14361409
Модель 500
Группа Электрооборудование
Подгруппа Фары
Порядковый номер детали 024
5 5335-2803015-20 Бампер передний
Подробнее
Дополнительная информация:
Кол-во на "5335, 5549, 5429, 5430, 509А, 504В" 1
14361410
Модель 5335
Группа Рама
Подгруппа Буфер передний
Порядковый номер детали 015
Дополнительно Не взаимозаменяема с деталью, выпущенной ранее под этим же номером
6 500А-2806128 Пружина
Подробнее
Дополнительная информация:
Кол-во на "5335, 5549, 5429, 5430, 509А, 504В" 1
14361411
Модель 500Рђ
Группа Рама
Подгруппа Крюк буксирный передний
Порядковый номер детали 128
7 252135-П21 Шайба
Подробнее
Дополнительная информация:
Кол-во на "5335, 5549, 5429, 5430, 509А, 504В" 1
14361412
Винт М5х14 крышки карбюратора 8 201452-П29 Болт
Подробнее
Дополнительная информация:
Кол-во на "5335, 5549, 5429, 5430, 509А, 504В" 1
14361413
Покрытие цинкование и пассивирование (цинковое с хроматированием)
  Код Название Артикул Цена
Болт М8х12 091581 Болт М8х12 201452-П29 5,00 р.
Болт М8х12 9 500А-2806117 Палец буксирной вилки в сборе
Подробнее
Дополнительная информация:
Кол-во на "5335, 5549, 5429, 5430, 509А, 504В" 1
14361414
Модель 500Рђ
Группа Рама
Подгруппа Крюк буксирный передний
Порядковый номер детали 117
  Код Название Артикул Цена
Палец МАЗ буксировочный 206434 Палец МАЗ буксировочный 500А-2806117 990,00 р.
10 500А-2806116-1 Вилка буксирная передняя
Подробнее
Дополнительная информация:
Кол-во на "5335, 5549, 5429, 5430, 509А, 504В" 1
14361415
Модель 500Рђ
Группа Рама
Подгруппа Крюк буксирный передний
Порядковый номер детали 116
Дополнительно Не взаимозаменяема с деталью, выпущенной ранее под этим же номером
11 258056-П29 Шплинт
Подробнее
Дополнительная информация:
Кол-во на "5335, 5549, 5429, 5430, 509А, 504В" 4
14361416
Покрытие цинкование и пассивирование (цинковое с хроматированием)
12 374906-П29 Гайка
Подробнее
Дополнительная информация:
Кол-во на "5335, 5549, 5429, 5430, 509А, 504В" 4
14361417
Покрытие цинкование и пассивирование (цинковое с хроматированием)
13 500А-2803030-11 Усилитель переднего бампера
Подробнее
Дополнительная информация:
Кол-во на "5335, 5549, 5429, 5430, 509А, 504В" 1
14361418
Модель 500Рђ
Группа Рама
Подгруппа Буфер передний
Порядковый номер детали 030
Дополнительно Не взаимозаменяема с деталью, выпущенной ранее под этим же номером
14 252904-П Заклепка
Подробнее
Дополнительная информация:
Кол-во на "5335, 5549, 5429, 5430, 509А, 504В" 14
14361419
Покрытие без покрытия
15 250512-П29 Гайка
Подробнее
Дополнительная информация:
Кол-во на "5335, 5549, 5429, 5430, 509А, 504В" 6
14361420
Покрытие цинкование и пассивирование (цинковое с хроматированием)
16 252136-П2 Шайба
Подробнее
Дополнительная информация:
Кол-во на "5335, 5549, 5429, 5430, 509А, 504В" 6
14361421
Покрытие фосфатирование и промасливание
17 252006-П29 Шайба
Подробнее
Дополнительная информация:
Кол-во на "5335, 5549, 5429, 5430, 509А, 504В" 6
14361422
Покрытие цинкование и пассивирование (цинковое с хроматированием)
18 ФГ152-3743010 Фара противотуманная
Подробнее
Дополнительная информация:
Кол-во на "5335, 5549, 5429, 5430, 509А, 504В" 2
14361423
Модель ФГ152
Группа Электрооборудование
Подгруппа Фары противотуманные
Порядковый номер детали 010
19 210406-П29 Болт
Подробнее
Дополнительная информация:
Кол-во на "5335, 5549, 5429, 5430, 509А, 504В" 8
14361424
Покрытие цинкование и пассивирование (цинковое с хроматированием)
20 372881-П29 Болт
Подробнее
Дополнительная информация:
Кол-во на "5335, 5549, 5429, 5430, 509А, 504В" 10
14361425
Покрытие цинкование и пассивирование (цинковое с хроматированием)
21 5335-2803027-20 Кронштейн переднего бампера
Подробнее
Дополнительная информация:
Кол-во на "5335, 5549, 5429, 5430, 509А, 504В" 2
14361426
Модель 5335
Группа Рама
Подгруппа Буфер передний
Порядковый номер детали 027
Дополнительно Не взаимозаменяема с деталью, выпущенной ранее под этим же номером