← Передача главная заднего моста Крышка подшипника в сборе →
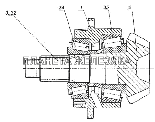
Шестерня ведущая заднего моста КамАЗ-6460
  Номер детали Наименование детали  
6520-2402021-10 Шестерня ведущая коническая в сборе
Подробнее
Дополнительная информация:
Кол-во на "6460" 1
Модель 6520
Группа Мост задний
Подгруппа Редуктор заднего моста (главная передача)
Порядковый номер детали 021
Дополнительно Не взаимозаменяема с деталью, выпущенной ранее под этим же номером
1 6520-2402048 Стакан подшипников
Подробнее
Дополнительная информация:
Кол-во на "6460" 1
Модель 6520
Группа Мост задний
Подгруппа Редуктор заднего моста (главная передача)
Порядковый номер детали 048
2 6520-2402017-10 Шестерня ведущая заднего моста
Подробнее
Дополнительная информация:
Кол-во на "6460" 1
Модель 6520
Группа Мост задний
Подгруппа Редуктор заднего моста (главная передача)
Порядковый номер детали 017
Дополнительно Не взаимозаменяема с деталью, выпущенной ранее под этим же номером
3 6520-2402188..217 Втулка регулировочная
Подробнее
Дополнительная информация:
Примечание Нет
Модель 6520
Группа Мост задний
Подгруппа Редуктор заднего моста (главная передача)
Порядковый номер детали 188
Дополнительно Взаимозаменяема с деталью, выпущенной ранее под этим же номером
34 6-7613А Подшипник роликовый конический однорядный
Подробнее
Дополнительная информация:
Кол-во на "6460" 1
35 6-7615А Подшипник роликовый конический однорядный
Подробнее
Дополнительная информация:
Кол-во на "6460" 1