← Установка масляных радиаторов Центробежный фильтр очистки масла (полнопоточная центрифуга) →
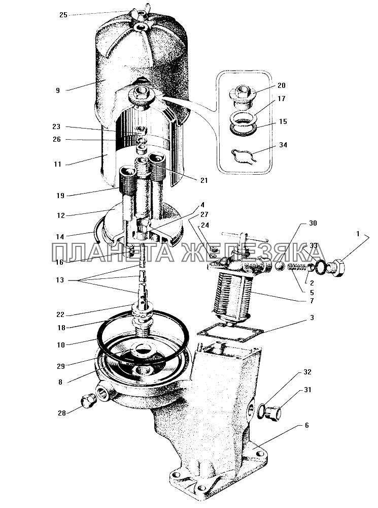
Центробежный фильтр очистки масла с фильтром грубой очистки ЗИЛ-130
  Номер детали Наименование детали  
130-1012009 Фильтр грубой очистки с центрифугой в сборе
Подробнее
Дополнительная информация:
Кол-во на "130, 130В1, 130Г, 130Е, 130Д1" 1
Модель 130
Группа Двигатель
Подгруппа Насос масляный грубой очистки (полнопоточный ф.)
Порядковый номер детали 009
130-1012100 Прокладка корпуса масляных фильтров
Подробнее
Дополнительная информация:
Кол-во на "130, 130В1, 130Г, 130Е, 130Д1" 1
Модель 130
Группа Двигатель
Подгруппа Насос масляный грубой очистки (полнопоточный ф.)
Порядковый номер детали 100
201501-П8 Болт
Подробнее
Дополнительная информация:
Кол-во на "130, 130В1, 130Г, 130Е, 130Д1" 4
Покрытие цинкование
252006-П8 Шайба
Подробнее
Дополнительная информация:
Кол-во на "130, 130В1, 130Г, 130Е, 130Д1" 4
Покрытие цинкование
1 111-1012041 Штуцер перепускного клапана
Подробнее
Дополнительная информация:
Кол-во на "130, 130В1, 130Г, 130Е, 130Д1" 2
Модель 111
Группа Двигатель
Подгруппа Насос масляный грубой очистки (полнопоточный ф.)
Порядковый номер детали 041
2 111-1012043 Стакан штуцера
Подробнее
Дополнительная информация:
Кол-во на "130, 130В1, 130Г, 130Е, 130Д1" 2
Модель 111
Группа Двигатель
Подгруппа Насос масляный грубой очистки (полнопоточный ф.)
Порядковый номер детали 043
3 111-1012069 Прокладка крышки фильтрующего элемента
Подробнее
Дополнительная информация:
Кол-во на "130, 130В1, 130Г, 130Е, 130Д1" 1
Модель 111
Группа Двигатель
Подгруппа Насос масляный грубой очистки (полнопоточный ф.)
Порядковый номер детали 069
4 120-1011034-Б Втулка центрифуги нижняя
Подробнее
Дополнительная информация:
Кол-во на "130, 130В1, 130Г, 130Е, 130Д1" 1
Модель 120
Группа Двигатель
Подгруппа Насос масляный
Порядковый номер детали 034
Дополнительно Взаимозаменяема с деталью, выпущенной ранее под этим же номером
5 120-1012091-Б Пружина сливного клапана
Подробнее
Дополнительная информация:
Кол-во на "130, 130В1, 130Г, 130Е, 130Д1" 1
Модель 120
Группа Двигатель
Подгруппа Насос масляный грубой очистки (полнопоточный ф.)
Порядковый номер детали 091
Дополнительно Взаимозаменяема с деталью, выпущенной ранее под этим же номером
6 130-1012016 Корпус масляных фильтров в сборе
Подробнее
Дополнительная информация:
Кол-во на "130, 130В1, 130Г, 130Е, 130Д1" 1
Модель 130
Группа Двигатель
Подгруппа Насос масляный грубой очистки (полнопоточный ф.)
Порядковый номер детали 016
7 130-1012035 Фильтрующий элемент в сборе
Подробнее
Дополнительная информация:
Кол-во на "130, 130В1, 130Г, 130Е, 130Д1" 1
Модель 130
Группа Двигатель
Подгруппа Насос масляный грубой очистки (полнопоточный ф.)
Порядковый номер детали 035
8 164-1012045 Щиток отражательный
Подробнее
Дополнительная информация:
Кол-во на "130, 130В1, 130Г, 130Е, 130Д1" 2
Модель 164
Группа Двигатель
Подгруппа Насос масляный грубой очистки (полнопоточный ф.)
Порядковый номер детали 045
9 164-1017322 Кожух
Подробнее
Дополнительная информация:
Кол-во на "130, 130В1, 130Г, 130Е, 130Д1" 1
Модель 164
Группа Двигатель
Подгруппа Фильтр очистки масла центробежный
Порядковый номер детали 322
10 164-1017327 Прокладка кожуха центрифуги
Подробнее
Дополнительная информация:
Кол-во на "130, 130В1, 130Г, 130Е, 130Д1" 2
Модель 164
Группа Двигатель
Подгруппа Фильтр очистки масла центробежный
Порядковый номер детали 327
11 164-1017335 Крышка корпуса в сборе
Подробнее
Дополнительная информация:
Кол-во на "130, 130В1, 130Г, 130Е, 130Д1" 1
Модель 164
Группа Двигатель
Подгруппа Фильтр очистки масла центробежный
Порядковый номер детали 335
12 164-1017336 Корпус центрифуги со втулками в сборе
Подробнее
Дополнительная информация:
Кол-во на "130, 130В1, 130Г, 130Е, 130Д1" 1
Модель 164
Группа Двигатель
Подгруппа Фильтр очистки масла центробежный
Порядковый номер детали 336
13 164-1017337 Ось центрифуги
Подробнее
Дополнительная информация:
Кол-во на "130, 130В1, 130Г, 130Е, 130Д1" 1
Модель 164
Группа Двигатель
Подгруппа Фильтр очистки масла центробежный
Порядковый номер детали 337
14 164-1017349 Кольцо крышки корпуса центрифуги уплотнительное нижнее
Подробнее
Дополнительная информация:
Кол-во на "130, 130В1, 130Г, 130Е, 130Д1" 2
Модель 164
Группа Двигатель
Подгруппа Фильтр очистки масла центробежный
Порядковый номер детали 349
15 164-1017351 Прокладка гайки
Подробнее
Дополнительная информация:
Кол-во на "130, 130В1, 130Г, 130Е, 130Д1" 1
Модель 164
Группа Двигатель
Подгруппа Фильтр очистки масла центробежный
Порядковый номер детали 351
16 164-1017353 Жиклер
Подробнее
Дополнительная информация:
Кол-во на "130, 130В1, 130Г, 130Е, 130Д1" 1
Модель 164
Группа Двигатель
Подгруппа Фильтр очистки масла центробежный
Порядковый номер детали 353
17 164-1017355 Шайба гайки
Подробнее
Дополнительная информация:
Кол-во на "130, 130В1, 130Г, 130Е, 130Д1" 1
Модель 164
Группа Двигатель
Подгруппа Фильтр очистки масла центробежный
Порядковый номер детали 355
18 164-1017357 Подшипник упорный
Подробнее
Дополнительная информация:
Кол-во на "130, 130В1, 130Г, 130Е, 130Д1" 1
Модель 164
Группа Двигатель
Подгруппа Фильтр очистки масла центробежный
Порядковый номер детали 357
19 164-1017362 Фильтр центрифуги в сборе
Подробнее
Дополнительная информация:
Кол-во на "130, 130В1, 130Г, 130Е, 130Д1" 1
Модель 164
Группа Двигатель
Подгруппа Фильтр очистки масла центробежный
Порядковый номер детали 362
20 164-1017398 Гайка центрифуги
Подробнее
Дополнительная информация:
Кол-во на "130, 130В1, 130Г, 130Е, 130Д1" 1
Модель 164
Группа Двигатель
Подгруппа Фильтр очистки масла центробежный
Порядковый номер детали 398
21 164-1017415 Втулка верхняя
Подробнее
Дополнительная информация:
Кол-во на "130, 130В1, 130Г, 130Е, 130Д1" 1
Модель 164
Группа Двигатель
Подгруппа Фильтр очистки масла центробежный
Порядковый номер детали 415
22 164-1017427 Кольцо упорное подшипника
Подробнее
Дополнительная информация:
Кол-во на "130, 130В1, 130Г, 130Е, 130Д1" 1
Модель 164
Группа Двигатель
Подгруппа Фильтр очистки масла центробежный
Порядковый номер детали 427
23 250510-П8 Гайка
Подробнее
Дополнительная информация:
Кол-во на "130, 130В1, 130Г, 130Е, 130Д1" 27
Покрытие цинкование
24 250512-П8 Гайка
Подробнее
Дополнительная информация:
Кол-во на "130, 130В1, 130Г, 130Е, 130Д1" 20
Покрытие цинкование
25 251513-П8 Гайка-барашек
Подробнее
Дополнительная информация:
Кол-во на "130, 130В1, 130Г, 130Е, 130Д1" 1
Покрытие цинкование
26 252135-П2 Шайба пружинная
Подробнее
Дополнительная информация:
Кол-во на "130, 130В1, 130Г, 130Е, 130Д1" 57
Покрытие фосфатирование и промасливание
27 252136-П2 Шайба пружинная
Подробнее
Дополнительная информация:
Кол-во на "130, 130В1, 130Г, 130Е, 130Д1" 45
Покрытие фосфатирование и промасливание
28 262542-П8 Пробка
Подробнее
Дополнительная информация:
Кол-во на "130, 130В1, 130Г, 130Е, 130Д1" 1
Покрытие цинкование
29 305770-П Шайба упорная
Подробнее
Дополнительная информация:
Кол-во на "130, 130В1, 130Г, 130Е, 130Д1" 1
Покрытие без покрытия
30 306200-П Шарик
Подробнее
Дополнительная информация:
Кол-во на "130, 130В1, 130Г, 130Е, 130Д1" 3
Покрытие без покрытия
31 306507-П Пробка нижнего картера спускная
Подробнее
Дополнительная информация:
Кол-во на "130, 130В1, 130Г, 130Е, 130Д1" 1
Покрытие без покрытия
32 307226-П Прокладка спускной пробки нижнего картера в сборе
Подробнее
Дополнительная информация:
Кол-во на "130, 130В1, 130Г, 130Е, 130Д1" 1
Покрытие без покрытия
33 307270-П Прокладка
Подробнее
Дополнительная информация:
Кол-во на "130, 130В1, 130Г, 130Е, 130Д1" 4
Покрытие без покрытия
34 307743-П Кольцо стопорное
Подробнее
Дополнительная информация:
Кол-во на "130, 130В1, 130Г, 130Е, 130Д1" 1
Покрытие без покрытия