← 154.1770210 Вал промежуточный делителя передач в сборе 15.1771020 Корпус механизма переключения делителя передач в сборе →
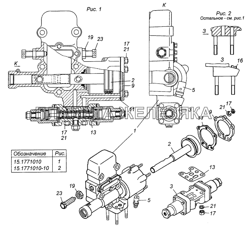
15.1771010 Механизм переключения делителя передач в сборе КамАЗ-53501 (6х6)
  Номер детали Наименование детали  
15.1771010 Механизм переключения делителя передач в сборе
Подробнее
Дополнительная информация:
Модель 15
Группа Коробка передач
Подгруппа Механизм переключения делителя передач
Порядковый номер детали 010
  Код Название Артикул Цена
Механизм КАМАЗ перекл. делителя с воздухораспр. СДА 143182 Механизм КАМАЗ перекл. делителя с воздухораспр. СДА 15.1771010 17 450,00 р.
Механизм переключения делителя передач КАМАЗ РОСТАР 735491 Механизм переключения делителя передач КАМАЗ РОСТАР 15.1771010 16 830,00 р.
15.1771010-10 Механизм переключения делителя передач в сборе
Подробнее
Дополнительная информация:
Модель 15
Группа Коробка передач
Подгруппа Механизм переключения делителя передач
Порядковый номер детали 010
Дополнительно Не взаимозаменяема с деталью, выпущенной ранее под этим же номером
1 15.1771020 Корпус механизма переключения делителя передач в сборе
Подробнее
Дополнительная информация:
Кол-во на "53501" 1
Модель 15
Группа Коробка передач
Подгруппа Механизм переключения делителя передач
Порядковый номер детали 020
2 15.1771050 Поршень цилиндра механизма переключения с манжетами в сборе
Подробнее
Дополнительная информация:
Кол-во на "53501" 1
Модель 15
Группа Коробка передач
Подгруппа Механизм переключения делителя передач
Порядковый номер детали 050
Механизм переключения делителя передач КАМАЗ РОСТАР 3 15.1772010 Воздухораспределитель механизма переключения в сборе
Подробнее
Дополнительная информация:
Кол-во на "53501" 1
Модель 15
Группа Коробка передач
Подгруппа Привод управления механизмом переключения делителя передач
Порядковый номер детали 010
  Код Название Артикул Цена
Клапан КАМАЗ воздухораспределительный замена см.код 590168 018565 Клапан КАМАЗ воздухораспределительный замена см.код 590168 15.1772010 950,00 р.
Воздухораспределитель КАМАЗ делителя СБ SORL 581541 Воздухораспределитель КАМАЗ делителя СБ SORL 15.1772010 3 300,00 р.
Воздухораспределитель КАМАЗ делителя в сборе MEGAPOWER 590168 Воздухораспределитель КАМАЗ делителя в сборе MEGAPOWER 15.1772010 1 710,00 р.
5 15.1772370 Сапун с клапаном в сборе
Подробнее
Дополнительная информация:
Кол-во на "53501" 1
Модель 15
Группа Коробка передач
Подгруппа Привод управления механизмом переключения делителя передач
Порядковый номер детали 370
9 15.1771074 Крышка цилиндра
Подробнее
Дополнительная информация:
Кол-во на "53501" 1
Модель 15
Группа Коробка передач
Подгруппа Механизм переключения делителя передач
Порядковый номер детали 074
Воздухораспределитель КАМАЗ делителя в сборе MEGAPOWER 11 15.1771076 Прокладка крышки цилиндра
Подробнее
Дополнительная информация:
Кол-во на "53501" 1
Модель 15
Группа Коробка передач
Подгруппа Механизм переключения делителя передач
Порядковый номер детали 076
  Код Название Артикул Цена
Прокладка КАМАЗ крышки цилиндра мех.перекл.перед. 087003 Прокладка КАМАЗ крышки цилиндра мех.перекл.перед. 15.1771076 3,00 р.
13 15.1772026 Прокладка корпуса воздухораспределителя
Подробнее
Дополнительная информация:
Кол-во на "53501" 1
Модель 15
Группа Коробка передач
Подгруппа Привод управления механизмом переключения делителя передач
Порядковый номер детали 026
16 4599311132 Пробка КГ 1/4" ОСТ 37.001.178-82
Подробнее
Дополнительная информация:
Кол-во на "53501" 1
Группа Лебедка
Подгруппа 4599
Порядковый номер детали 311
Дополнительно Не взаимозаменяема с деталью, выпущенной ранее под этим же номером
17 1/61008/11 Гайка М8х1,25-6Н
Подробнее
Дополнительная информация:
Кол-во на "53501" 9
Крепежная деталь да
Материал сталь 50 (сталь с пределом прочности на разрыв 490-784 (50-80) МПа (кг/мм2)
Покрытие цинкование
19 1/07913/11 Гайка низкая М14х1,5-6Н
Подробнее
Дополнительная информация:
Кол-во на "53501" 2
Крепежная деталь да
Материал сталь 50 (сталь с пределом прочности на разрыв 490-784 (50-80) МПа (кг/мм2)
Покрытие цинкование
21 1/05166/73 Шайба 8 пружинная
Подробнее
Дополнительная информация:
Кол-во на "53501" 9
Крепежная деталь да
Материал другие металлические материалы, т. е. не сталь, не латунь, не легкий сплав, не медь
Покрытие фосфатирование
Прокладка КАМАЗ крышки цилиндра мех.перекл.перед. 23 870013 Болт установочный М14х1,5-6Нх50
Подробнее
Дополнительная информация:
Кол-во на "53501" 2
Покрытие без покрытия
  Код Название Артикул Цена
Болт М14х50х1.5 крепления делителя передач КАМАЗ 219644 Болт М14х50х1.5 крепления делителя передач КАМАЗ 870013 86,00 р.